REKLAMA
Drogi Kolej Mosty Archiwum NBI Technologie
22 Minut czytania

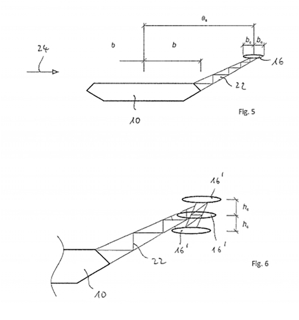
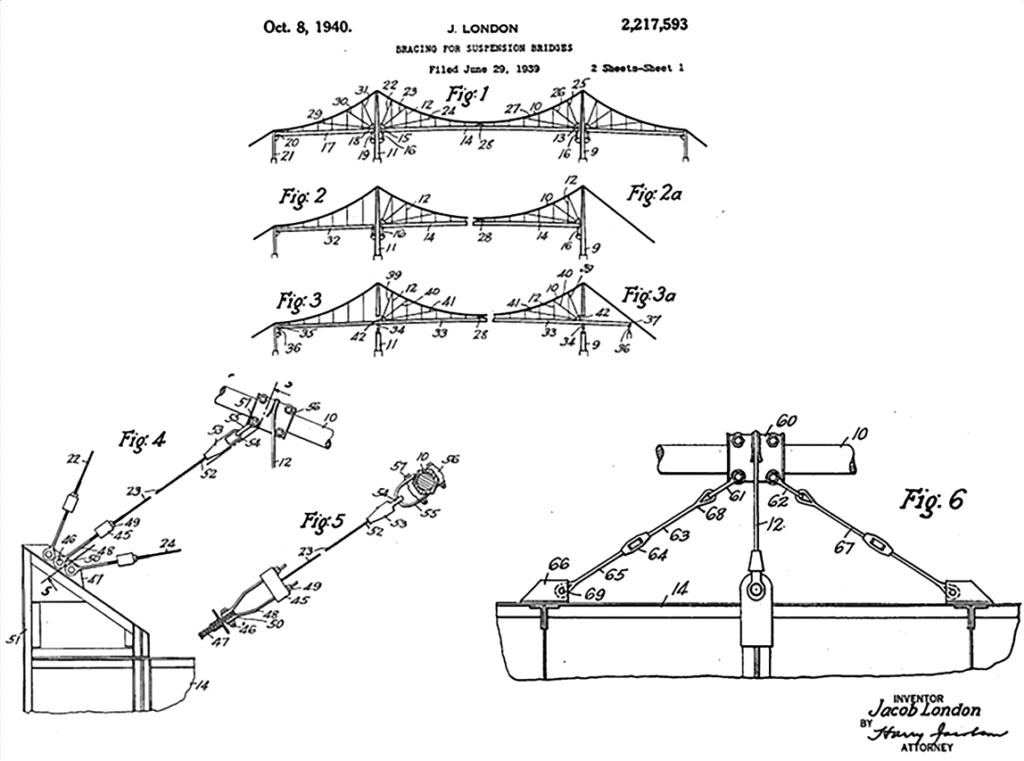
Mosty wiszące w międzynarodowych patentach, cz. 1

Patent to zabezpieczenie własności intelektualnej przez umowę między wynalazcą a państwem, w którym wniosek patentowy został zgłoszony i przyznany. Wynalazca opisuje rozwiązanie i przedstawia, jak je zrealizować lub jak z niego korzystać na podstawie wnioskowanego pomysłu, techniki lub technologii w zamian za prawo do wyłącznego korzystania przez niego z wynalazku przez określony czas w sposób zarobkowy.

Spis treści

W Stanach Zjednoczonych od 2012 r. patenty przyznawane są na 20 lat z możliwością przedłużenia na kolejne lata, w Polsce to maksymalnie 20 lat od daty zgłoszenia. Patent jest ważny w kraju, w którym został wydany, ale istnieje możliwość uzyskania ochrony wynalazku w innych krajach świata. Po okresie wygaśnięcia patentu staje się on dobrem publicznym, a tym samym przyczynia się do powszechnego rozwoju techniczno-technologicznego. Jest wiele powodów, dla których patenty są zgłaszane do urzędów patentowych. Jest to ochrona rozwiązań przed nieautoryzowanym wykorzystaniem przez osoby lub firmy, komercjalizacja wynalazku, a więc zwiększenie zysków, wzrost wartości rynkowej asygnowanej firmy, kontrolowanie działań konkurencji w danej dziedzinie czy wreszcie podniesienie prestiżu wynalazcy. W USA w 2023 r. wydano blisko 350 tys. patentów (ryc. 1), dla porównania w tym samym roku w Polsce było to skromne 2208 patentów (ryc. 2). Zastanawiająca jest tak ogromna dysproporcja. Zapewne przyczyn jest wiele i nie wiążą się one wyłącznie z brakiem innowacyjności lub inżynieryjnej kreatywności w naszym kraju.

Ten i wiele innych artykułów przeczytasz bezpłatnie po zalogowaniu
Zalogowani czytelnicy mają dostęp do dodatkowych, wybranych materiałów z serwisu
Jeszcze kilka kliknięć i będziesz mógł/a cieszyć się z dostępu do treści!
Kalendarium wydarzeń
Sklep internetowy NBI
REKLAMA
Przegląd prywatności

Ta strona korzysta z ciasteczek, aby zapewnić Ci najlepszą możliwą obsługę. Informacje o ciasteczkach są przechowywane w przeglądarce i wykonują funkcje takie jak rozpoznawanie Cię po powrocie na naszą stronę internetową i pomaganie naszemu zespołowi w zrozumieniu, które sekcje witryny są dla Ciebie najbardziej interesujące i przydatne.